Atlas 1602, **02 Fahrmotor / Drive Motor
Atlas 1602, **02 Fahrmotor / Drive Motor
Auf dieser Website fand ich ein sehr nützliches Dokument:
"Verification traction motor 02er series Überprüfung Fahrmotor"
http://www.atlas-hydraulikbagger.de/Dow ... rmotor.pdf
"AB 1302 Mobilbagger Regelfahrmotor"
Ich habe das Dokument in Microsoft Word gescannt. Das Dokument angebracht ist.
On this website I found a very useful document:
"Verification traction motor 02er series Überprüfung Fahrmotor"
http://www.atlas-hydraulikbagger.de/Dow ... rmotor.pdf
"AB 1302 Mobilbagger Regelfahrmotor"
I have scanned the document into Microsoft Word. The document is attached.
Funktion des Regelfahrmotors mit Reparatur-Anleitung und Störungssuche
Der Regelfahrmotor ist ein stufenlos verstellbarer Hydromotor, der in Grundstellung von einer Feder auf minimales Schluckvolumen, d. h.
a) auf minimalen Schwenkwinkel
b) auf minimales Abtriebsdrehmoment
gehalten wird. Durch das minimale Schluckvolumen erreichen wir die größte Abtriebsdrehzahl vom Hydromotor und automatisch am Bagger die größte Fahrgeschwindigkeit. Durch das Ausschwenken auf maximalen Schwenkwinkel erfolgt
a) eine Schluckvolumenzunahme,
b) ein gleichzeitig ansteigendes Abtriebsdrehmoment.
Das Ausschwenken des Motors erfolgt bei ansteigendem Fahrdruck der jeweiligen Fahrtrichtung.
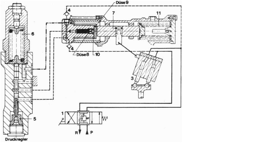
zu Bildtafel 1 (Bagger in Ruhe)
Der Motor ist auf minimalen Schwenkwinkel bzw. Schluckvolumen ausgeschwenkt.
Beide Fahrmotorseiten liegen jetzt im geschlossenen Kreislauf, d. h. über den Steuerschieber Nr. 1 gibt es jetzt eine A -B-Verbindung (freier Umlauf). Gleichzeitig ist die A- B-Verbindung über ein Sicherheitsventil Nr. 2 mit 40 bar abgesichert.
Bildtafel 2
Der Fahrdruck liegt unter dem Regelbeginn. (180 bar)
Der Motor Nr. 3 ist nach wie vor auf minimales Schluckvolumen ausgeschwenkt. Der anstehende Fahrdruck baut sich über ein Rückschlagventil Nr. 4 zum Druckregler weiter auf. Der Kolben Nr. 5 im Druckregler wird aber durch eine vorher eingestellte Druckfeder Nr. 6 in Endstellung gehalten.
Bildtafel 3
Der Fahrdruck ist auf über 180 bar angestiegen, so daß der Kolben Nr 5. im Druckregler (Druckreglerkolben) die Verbindung zum Verstellkolben Nr. 7 des Hydromotors freigibt, und das Öl staut sich jetzt vor Düse Nr. 8. Der Staudruck Delta P, der hervorgerufen wird durch die Düse Nr. 9 und
Düse Nr. 8 wirkt nun auf die Kolbenfläche des Topfkolbens Nr. 10 und so¬mit gegen das vorgespannte Federpaket Nr. 11. Dadurch wird der Hydromotor Nr. 3 von der minimalen Schluckmenge nun bei noch ansteigendem Fahrdruck auf maximales Schluckvolumen ausgeschwenkt. Die Gesamtausschwenkung des Ölmotors erfolgt bei einem Fahrdruckbereich zwischen 180 und 200 bar, d. h, sobald der Fahrdruck 200 bar erreicht hat, ist der Motor Nr. 3 auf volle Schluckvolumen ausgeschwenkt. Sinkt der Fahrdruck wieder unter 180 bar, unterbricht der Kolben Nr. 5 im Druckregler die Verbindung zum Topfkolben Nr. 10, so daß sich das im Topfkolbenraum Nr. 12 angestaute Drucköl durch die Düsen 9 und 8 (über die Druckreglerleckölleitung) entweichen kann. Somit schwenkt der Hydromo¬tor wieder in die kleinste Schwenkstellung zurück
Folgende Störungen können am Regel fahrmotor durch Verstopfen der Düsen bzw. durch Verstellen des Regelbeginns am Druckregler entstehen.
1) Die Fahrleistung sinkt rapide ab, wenn der Regelbeginn (das Ausschwenken auf großen. Verstellwinkel) nicht bei 180 bar erfolgt .
In der Praxis würde das maximale Drehmom.ent.vom Regelfahrmotor nicht mehr zu erreichen sein. Die Einstellung des Regelbeginns am
Druckregler erfolgt mit einem 19 er Maulschlüssel und einem 6 mm Inbusschlüssel (Bild Nr. 4). Bei Rechtsdrehung der Einstellschraube erfolgt der Regelbeginn später; das kann dazu führen, daß das maximale Drehmoment vom Regelmotor nicht mehr erreicht wird bzw. die Fahrleistung nachläßt. Bei Linksdrehung wird der Regelbeginn vorverlegt, d. h. , die Fahrgeschwindigkeit nimmt vorzeitig ab, und gleichzeitig wird das maximale Abtriebsdrehmom.ent vorzeitig erreicht. Der gesamte Regelbereich des Motors erstreckt sich über 20 bar, d.h. , wenn Regelbeginn bei 180 bar liegt, ist der maximale Ausschwenkwinkel = Regelende bei 200 bar. Eine Neueinstellung bzw. Kontrolle des Regelbeginns erfolgt nach folgenden Richtlinien:
a) Die Druckluft auf dem Qelbehälter wird abgelassen.
b)Die Leckölleitung wird vom Regelmotor abgenommen, wobei die nun offene Leckölleitung mit einem Blindstopfen verschlossen wird.
c) Mit einem 13er Schlüssel werden jetzt die 18 Schrauben vom VerschluSsdekkel gelöst und der Deckel wird abgenommen.
d) Der Ölbehälter wird nun wieder mit Druckluft vorgespannt.
e) Die Fußbremse in der Kabine betätigen.
f) Straßengang einlegen
g) Bei laufendem Dieselmotor den Fahrhebel in der Kabine ganz langsam nach vorn bzw. auf Rückwärtsfahren einschalten.
h) Den angezeigten Fahrdruck am vorher angeschlossenen Prüfmanometer ablesen. Sobald der Fahrdruck auf 180 bar angestiegen ist, muß der Regelfahrmotor beginnen, auszuschwenken. Bei 200 bar muß der maximale Ausschwenkwinkel von 28 Grad (Regelende) erreicht sein. Sollte der Motor schon früher oder erst später ausschwenken, wird dieses über den Druckregler korrigiert (Bild 5)
2)
Beide Fahrleitungen sind über dünne Steuerleitungen und über 2 Rück-schlagventile am Druckregler angeschlossen. Sollte eines dieser
beiden Rückschlagventile verschmutzt sein, kann sich das Drucköl von der Hochdruckseite zur Niederdruckseite abbauen, so daß ein Ausschwenker'i des Regelfahrmotors nicht mehr erfolgen kann. Zur Kontrolle der Rück-. schlagventile diese ausbauen und mit Druckluft auf Dichtigkeit überprüfen.
3)
Um an die beiden Düsen, die je in dem Tofpkolben hinter dem Siebfilter sitzen, zu kommen, muß zunächst die Vorspannung der Rückstellfeder entlastet werden. Dies erfolgt über Stellschrauben.
Achtung: Die zwischen der Federkappe und dem Motorgehäuse liegenden Distanzscheiben müssen bei der Montage unbedingt wieder eingebracht werden.
Nach dem Entspannen der Rückstellfeder kann damit begonnen werden, die Reglereinheit vom Motorgehäuse abzuschrauben.
Nach dem Abziehen des Reglerkopfes wird ein Topfkolben sichtbar. In diesem Topfkolben befindet sich eine Düse von ca. 0,8 mm Durchmesser. Beim Verstopfen dieser Düse bleibt der Regelmotor immer auf max. Schwenkwinkel ausgeschwenkt, d. h. , wir bekommen automatisch das größte Abtriebsdrehmoment vom Motor, zugleich aber die kleinste Fahrgeschwindigkeit.
Nach dem Abziehen des Topkolbens wird eine Inbusschraube im Steuer-kopfteil frei. In dieser Inbusschraube befindet sich
a) ein Siebfilter und
b) eine weitere Düse von 0,8 mm Größe.
Sollte diese Düse verstopft sein, bleibt der Motor auf geringstem. Verstellwinkel ausgeschwenkt, da sich der Steuerdruck nicht mehr vor dem Topfkolben aufbauen kann, d. h. , die Fahrleistung (das Drehmoment) bleibt gering, wobei aber die max. Fahrgeschwindigkeit auf ebenem Gelände erreicht werden kann.
**************************
Hat jeder Leser dieses Forums jemals den in diesem Dokument beschriebenen Verfahren durchgeführt?
Has any reader of this forum ever performed the procedure described in this document ?
Ist es möglich, den Bildschirm und die 0,8-mm-Düse reinigen, ohne den Hydromotor Entfernen vom Bagger?
Is it possible to clean the screen and the 0.8 mm nozzle without removing the hydraulic motor from the excavator ?
"Verification traction motor 02er series Überprüfung Fahrmotor"
http://www.atlas-hydraulikbagger.de/Dow ... rmotor.pdf
"AB 1302 Mobilbagger Regelfahrmotor"
Ich habe das Dokument in Microsoft Word gescannt. Das Dokument angebracht ist.
On this website I found a very useful document:
"Verification traction motor 02er series Überprüfung Fahrmotor"
http://www.atlas-hydraulikbagger.de/Dow ... rmotor.pdf
"AB 1302 Mobilbagger Regelfahrmotor"
I have scanned the document into Microsoft Word. The document is attached.
Funktion des Regelfahrmotors mit Reparatur-Anleitung und Störungssuche
Der Regelfahrmotor ist ein stufenlos verstellbarer Hydromotor, der in Grundstellung von einer Feder auf minimales Schluckvolumen, d. h.
a) auf minimalen Schwenkwinkel
b) auf minimales Abtriebsdrehmoment
gehalten wird. Durch das minimale Schluckvolumen erreichen wir die größte Abtriebsdrehzahl vom Hydromotor und automatisch am Bagger die größte Fahrgeschwindigkeit. Durch das Ausschwenken auf maximalen Schwenkwinkel erfolgt
a) eine Schluckvolumenzunahme,
b) ein gleichzeitig ansteigendes Abtriebsdrehmoment.
Das Ausschwenken des Motors erfolgt bei ansteigendem Fahrdruck der jeweiligen Fahrtrichtung.
zu Bildtafel 1 (Bagger in Ruhe)
Der Motor ist auf minimalen Schwenkwinkel bzw. Schluckvolumen ausgeschwenkt.
Beide Fahrmotorseiten liegen jetzt im geschlossenen Kreislauf, d. h. über den Steuerschieber Nr. 1 gibt es jetzt eine A -B-Verbindung (freier Umlauf). Gleichzeitig ist die A- B-Verbindung über ein Sicherheitsventil Nr. 2 mit 40 bar abgesichert.
Bildtafel 2
Der Fahrdruck liegt unter dem Regelbeginn. (180 bar)
Der Motor Nr. 3 ist nach wie vor auf minimales Schluckvolumen ausgeschwenkt. Der anstehende Fahrdruck baut sich über ein Rückschlagventil Nr. 4 zum Druckregler weiter auf. Der Kolben Nr. 5 im Druckregler wird aber durch eine vorher eingestellte Druckfeder Nr. 6 in Endstellung gehalten.
Bildtafel 3
Der Fahrdruck ist auf über 180 bar angestiegen, so daß der Kolben Nr 5. im Druckregler (Druckreglerkolben) die Verbindung zum Verstellkolben Nr. 7 des Hydromotors freigibt, und das Öl staut sich jetzt vor Düse Nr. 8. Der Staudruck Delta P, der hervorgerufen wird durch die Düse Nr. 9 und
Düse Nr. 8 wirkt nun auf die Kolbenfläche des Topfkolbens Nr. 10 und so¬mit gegen das vorgespannte Federpaket Nr. 11. Dadurch wird der Hydromotor Nr. 3 von der minimalen Schluckmenge nun bei noch ansteigendem Fahrdruck auf maximales Schluckvolumen ausgeschwenkt. Die Gesamtausschwenkung des Ölmotors erfolgt bei einem Fahrdruckbereich zwischen 180 und 200 bar, d. h, sobald der Fahrdruck 200 bar erreicht hat, ist der Motor Nr. 3 auf volle Schluckvolumen ausgeschwenkt. Sinkt der Fahrdruck wieder unter 180 bar, unterbricht der Kolben Nr. 5 im Druckregler die Verbindung zum Topfkolben Nr. 10, so daß sich das im Topfkolbenraum Nr. 12 angestaute Drucköl durch die Düsen 9 und 8 (über die Druckreglerleckölleitung) entweichen kann. Somit schwenkt der Hydromo¬tor wieder in die kleinste Schwenkstellung zurück
Folgende Störungen können am Regel fahrmotor durch Verstopfen der Düsen bzw. durch Verstellen des Regelbeginns am Druckregler entstehen.
1) Die Fahrleistung sinkt rapide ab, wenn der Regelbeginn (das Ausschwenken auf großen. Verstellwinkel) nicht bei 180 bar erfolgt .
In der Praxis würde das maximale Drehmom.ent.vom Regelfahrmotor nicht mehr zu erreichen sein. Die Einstellung des Regelbeginns am
Druckregler erfolgt mit einem 19 er Maulschlüssel und einem 6 mm Inbusschlüssel (Bild Nr. 4). Bei Rechtsdrehung der Einstellschraube erfolgt der Regelbeginn später; das kann dazu führen, daß das maximale Drehmoment vom Regelmotor nicht mehr erreicht wird bzw. die Fahrleistung nachläßt. Bei Linksdrehung wird der Regelbeginn vorverlegt, d. h. , die Fahrgeschwindigkeit nimmt vorzeitig ab, und gleichzeitig wird das maximale Abtriebsdrehmom.ent vorzeitig erreicht. Der gesamte Regelbereich des Motors erstreckt sich über 20 bar, d.h. , wenn Regelbeginn bei 180 bar liegt, ist der maximale Ausschwenkwinkel = Regelende bei 200 bar. Eine Neueinstellung bzw. Kontrolle des Regelbeginns erfolgt nach folgenden Richtlinien:
a) Die Druckluft auf dem Qelbehälter wird abgelassen.
b)Die Leckölleitung wird vom Regelmotor abgenommen, wobei die nun offene Leckölleitung mit einem Blindstopfen verschlossen wird.
c) Mit einem 13er Schlüssel werden jetzt die 18 Schrauben vom VerschluSsdekkel gelöst und der Deckel wird abgenommen.
d) Der Ölbehälter wird nun wieder mit Druckluft vorgespannt.
e) Die Fußbremse in der Kabine betätigen.
f) Straßengang einlegen
g) Bei laufendem Dieselmotor den Fahrhebel in der Kabine ganz langsam nach vorn bzw. auf Rückwärtsfahren einschalten.
h) Den angezeigten Fahrdruck am vorher angeschlossenen Prüfmanometer ablesen. Sobald der Fahrdruck auf 180 bar angestiegen ist, muß der Regelfahrmotor beginnen, auszuschwenken. Bei 200 bar muß der maximale Ausschwenkwinkel von 28 Grad (Regelende) erreicht sein. Sollte der Motor schon früher oder erst später ausschwenken, wird dieses über den Druckregler korrigiert (Bild 5)
2)
Beide Fahrleitungen sind über dünne Steuerleitungen und über 2 Rück-schlagventile am Druckregler angeschlossen. Sollte eines dieser
beiden Rückschlagventile verschmutzt sein, kann sich das Drucköl von der Hochdruckseite zur Niederdruckseite abbauen, so daß ein Ausschwenker'i des Regelfahrmotors nicht mehr erfolgen kann. Zur Kontrolle der Rück-. schlagventile diese ausbauen und mit Druckluft auf Dichtigkeit überprüfen.
3)
Um an die beiden Düsen, die je in dem Tofpkolben hinter dem Siebfilter sitzen, zu kommen, muß zunächst die Vorspannung der Rückstellfeder entlastet werden. Dies erfolgt über Stellschrauben.
Achtung: Die zwischen der Federkappe und dem Motorgehäuse liegenden Distanzscheiben müssen bei der Montage unbedingt wieder eingebracht werden.
Nach dem Entspannen der Rückstellfeder kann damit begonnen werden, die Reglereinheit vom Motorgehäuse abzuschrauben.
Nach dem Abziehen des Reglerkopfes wird ein Topfkolben sichtbar. In diesem Topfkolben befindet sich eine Düse von ca. 0,8 mm Durchmesser. Beim Verstopfen dieser Düse bleibt der Regelmotor immer auf max. Schwenkwinkel ausgeschwenkt, d. h. , wir bekommen automatisch das größte Abtriebsdrehmoment vom Motor, zugleich aber die kleinste Fahrgeschwindigkeit.
Nach dem Abziehen des Topkolbens wird eine Inbusschraube im Steuer-kopfteil frei. In dieser Inbusschraube befindet sich
a) ein Siebfilter und
b) eine weitere Düse von 0,8 mm Größe.
Sollte diese Düse verstopft sein, bleibt der Motor auf geringstem. Verstellwinkel ausgeschwenkt, da sich der Steuerdruck nicht mehr vor dem Topfkolben aufbauen kann, d. h. , die Fahrleistung (das Drehmoment) bleibt gering, wobei aber die max. Fahrgeschwindigkeit auf ebenem Gelände erreicht werden kann.
**************************
Hat jeder Leser dieses Forums jemals den in diesem Dokument beschriebenen Verfahren durchgeführt?
Has any reader of this forum ever performed the procedure described in this document ?
Ist es möglich, den Bildschirm und die 0,8-mm-Düse reinigen, ohne den Hydromotor Entfernen vom Bagger?
Is it possible to clean the screen and the 0.8 mm nozzle without removing the hydraulic motor from the excavator ?
- Dateianhänge
-
Word_Pump A.aa01.docx- (613.1 KiB) 626-mal heruntergeladen
-
Verification traction motor 02er series Überprüfung Fahrmotor.pdf- (1.13 MiB) 698-mal heruntergeladen
Zuletzt geändert von tojoe99 am Mo 9. Feb 2015, 22:55, insgesamt 3-mal geändert.
Re: Atlas 1602, **02 Fahrmotor / Drive Motor
Hat jeder Leser haben keine Informationen darüber, wie die Kalibrierung / Reparatur dieser Hydraulikmotor?
Does any reader have any information on how to calibrate / repair this hydraulic motor ?
Does any reader have any information on how to calibrate / repair this hydraulic motor ?
Re: Atlas 1602, **02 Fahrmotor / Drive Motor
Jetzt muß ich nochmal nachfragen.
Benötigst Du eine Reparaturanleitung oder wie man den Motor druckmäßig einstellt ?
Gruß
Benötigst Du eine Reparaturanleitung oder wie man den Motor druckmäßig einstellt ?
Gruß
Re: Atlas 1602, **02 Fahrmotor / Drive Motor
Idealerweise würde ich gerne beide Produkte haben - Anweisungen zur Einstellung der Hydraulikdrücke am Hydraulikmotor, und ein Service-Handbuch.
Ich bin in den Prozess der Kauf der notwendigen Ausrüstung, um den Druck in der Strömung zu messen und Rücklaufschlauch, und in den Kontroll Schläuchen.
Ich hoffe, dass die Messungen erlauben Sie mir, das Problem zu diagnostizieren. Der Bagger hat derzeit sehr wenig Drehmoment bei niedriger Drehzahl, reist aber auch auf ebenem Boden. Ich vermute, dass die 0,8 mm Düse verstopft ist.
Es wäre sehr nützlich, um Anweisungen an die Steuerkomponenten auf der Rückseite des Hydraulikmotors befestigt zu demontieren sind. Insbesondere, wie man die 0,8 mm Düse reinigen.
Vielen Dank im Voraus für jede Hilfe, die Sie zur Verfügung stellen können.
Tony M.
*****************************************
Ideally I would like to have both items - instructions for setting the hydraulic pressures on the hydraulic motor, and a service manual.
I am in the process of purchasing the necessary equipment to measure the pressures in the flow and return hoses, and in the control hoses.
I hope that the measurements will allow me to diagnose the problem. The excavator currently has very little torque at low speed, but travels well on level ground. I suspect that the 0.8mm nozzle is blocked.
It would be very useful to have instructions on how to dismantle the control components mounted on the back of the hydraulic motor. In particular, how to clean the 0.8mm nozzle.
Thank you in advance for any help you can provide.
Tony M.
Ich bin in den Prozess der Kauf der notwendigen Ausrüstung, um den Druck in der Strömung zu messen und Rücklaufschlauch, und in den Kontroll Schläuchen.
Ich hoffe, dass die Messungen erlauben Sie mir, das Problem zu diagnostizieren. Der Bagger hat derzeit sehr wenig Drehmoment bei niedriger Drehzahl, reist aber auch auf ebenem Boden. Ich vermute, dass die 0,8 mm Düse verstopft ist.
Es wäre sehr nützlich, um Anweisungen an die Steuerkomponenten auf der Rückseite des Hydraulikmotors befestigt zu demontieren sind. Insbesondere, wie man die 0,8 mm Düse reinigen.
Vielen Dank im Voraus für jede Hilfe, die Sie zur Verfügung stellen können.
Tony M.
*****************************************
Ideally I would like to have both items - instructions for setting the hydraulic pressures on the hydraulic motor, and a service manual.
I am in the process of purchasing the necessary equipment to measure the pressures in the flow and return hoses, and in the control hoses.
I hope that the measurements will allow me to diagnose the problem. The excavator currently has very little torque at low speed, but travels well on level ground. I suspect that the 0.8mm nozzle is blocked.
It would be very useful to have instructions on how to dismantle the control components mounted on the back of the hydraulic motor. In particular, how to clean the 0.8mm nozzle.
Thank you in advance for any help you can provide.
Tony M.
Re: Atlas 1602, **02 Fahrmotor / Drive Motor
Ich verfolgte die Hydraulikschläuche von der Fahrmotor, durch die Drehdurchführung.
Ich fand nur einen Punkt für die Messung der Hydraulikdruck.
I traced the hydraulic hoses from the travel motor, through the rotary pass-through.
I found only one point for measuring the hydraulic pressure.
Ich fand nur einen Punkt für die Messung der Hydraulikdruck.
I traced the hydraulic hoses from the travel motor, through the rotary pass-through.
I found only one point for measuring the hydraulic pressure.
Re: Atlas 1602, **02 Fahrmotor / Drive Motor
Ich glaube, dass ich einen Ersatzdrucktestpunkt gefunden.
I believe that I have found a replacement pressure test point.
http://www.hytec-hydraulik.de/
Messanschluss M16 mit Überwurfmutter
http://www.hytec-hydraulik.de/messtechn ... op.htm#sma
L PN315 12 M18x1,5 MM-VKA3/12-L 13,20 €
I believe that I have found a replacement pressure test point.
http://www.hytec-hydraulik.de/
Messanschluss M16 mit Überwurfmutter
http://www.hytec-hydraulik.de/messtechn ... op.htm#sma
L PN315 12 M18x1,5 MM-VKA3/12-L 13,20 €
Re: Atlas 1602, **02 Fahrmotor / Drive Motor
Ich würde mir fürs Manometer nen Adapter kaufen, um diesen an die Messanschlüsse anschließen zu können. Dann mußt Du nicht jeden Anschluß umbauen, wenn Du mal Drücke messen willst.
Ich schau mal nach, was ich so finde bzgl. Anleitung.
Gruß
Ich schau mal nach, was ich so finde bzgl. Anleitung.
Gruß